
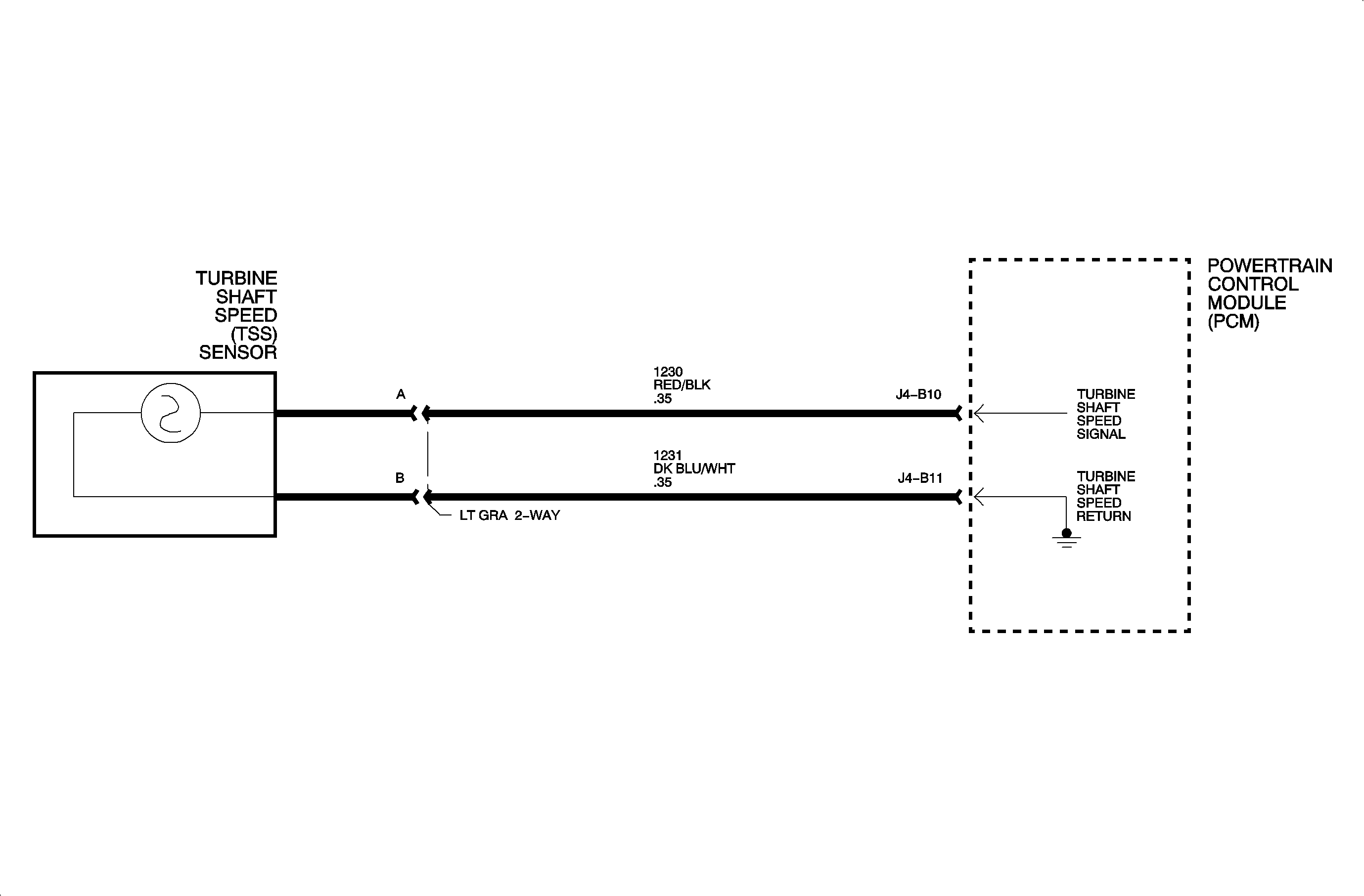
DTC P0717 indicates no turbine speed signal pulses are present on circuit 1230 at the PCM. Transaxle turbine shaft speed values are provided by the turbine shaft speed (TSS) sensor. The sensor is a permanent magnet (PM) generator mounted near the pressure filter on the transaxle case. The PM generator produces a pulsing voltage whenever turbine shaft speed is above 250 RPM. These pulses occur 8 times per each turbine shaft revolution and are translated to provide turbine shaft speed in RPM.
DTC P0717 is set when the PCM has detected the following conditions for more than 2 seconds:
Numbered steps below refer to numbered steps on the chart.
Monitor the DTC menu Code Status for Pass Since code Clear and Pass This Ignition Cycle. When both have passed, the repair is verified.
Criteria for pass turbine shaft speed is greater than 1,232 RPM for 2 seconds.
