Oil Cooler Line Replacement
Removal Procedure
Caution
Ensure that the vehicle is properly supported and squarely positioned.
To help avoid personal injury when a vehicle is on a hoist, provide additional support
for the vehicle on the opposite end from which the components are being removed.

- Position the vehicle
on a hoist.
- Remove the air induction system and air filter box.

Important
To remove the upper cooler line from the transaxle, squeeze the plastic tabs
at the connector and pull the line out of the connector. The plastic retainer remains
on the line.
- Disconnect the upper transaxle cooler line from the transaxle.
- Use a line wrench to remove the upper transaxle cooler line from the radiator.
- Remove the upper cooler line from the vehicle.

- For the lower transaxle cooler line,
raise the vehicle. Remove the front splash shield fasteners and remove the splash
shield.
- Use a line wrench to remove the lower transaxle cooler line from the radiator.
Important
To remove the cooler line from the transaxle, squeeze the plastic tabs at the
connector and pull the line out of the connector. The plastic retainer remains on
the line.
- Disconnect the lower transaxle cooler line from the transaxle.
- Remove the cooler line from the vehicle.

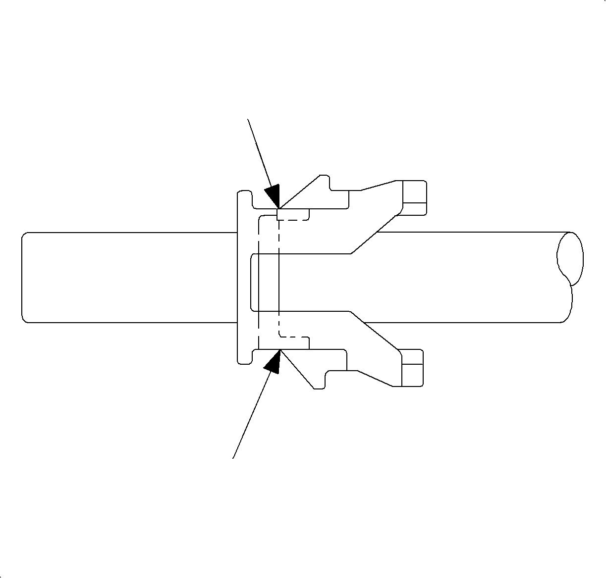
- Remove the plastic retainer from the line using
a small screwdriver to pry the tabs away from the line, pry where indicated by the
arrows, far enough to slip the retainer over the rib on line.
- Inspect the plastic retainer for cracks or other signs of fatigue. Replace
if necessary.
Notice
Refer to Fastener Notice in Cautions and Notices.
Important
If replacing the cooler line fitting, case threads must be clean and dry. Replacement
cooler line fitting comes with a pre-applied sealant.
- Remove and replace the transaxle cooler line fitting if leakage is present.
TightenTighten the transaxle cooler line fitting-to-case to 25 N·m (18 lb ft).
Installation Procedure
Caution
Ensure that the vehicle is properly supported and squarely positioned.
To help avoid personal injury when a vehicle is on a hoist, provide additional support
for the vehicle on the opposite end from which the components are being removed.

- Install the lower
transaxle cooler line to radiator.
TightenTighten the transaxle cooler line fitting-to-radiator 14 N·m (10 lb ft).
Important
Push the line into the fitting until it bottoms out and verify by gently trying
to pull the line out of the fitting.
- Install the plastic retainer to the lower transaxle cooler line and install
the retainer into the cooler line fitting at the transaxle.

- Install the front splash shield and install the
front splash shield fasteners.
- Lower the vehicle.
Important
Push the line into the fitting until it bottoms out and verify by gently trying
to pull the line out of the fitting.
- Install the plastic retainer to the upper transaxle cooler line and install
retainer into the cooler line fitting at the transaxle.
- Install the upper transaxle cooler line to the radiator.
TightenTighten the transaxle cooler line fitting-to-radiator to 14 N·m
(10 lb ft).

- Install the airfilter box and install air induction
system.
TightenTighten the air box attachment bolts to 10 N·m (89 lb in).
- Check the fluid level and add as necessary. Refer to
Transmission Fluid Checking Procedure
.
- Run the engine and check for leaks.