
- Assemble the input shaft with the
5th gear bearing, 5th gear, 5th reverse synchronizer assembly, reverse cone, and washer.
Use the
TightenTighten the input shaft clamp nut to 150 N·m (111 lb ft)
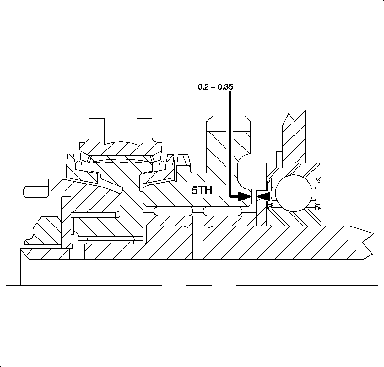
- Measure the clearance between 5th drive gear and 5th gear thrust washer.
ClearanceStandard: 0.20-0.35 mm (0.008-0.014 in)

- Measure the clearance between the 4th drive gear
and the 4th gear thrust washer.
ClearanceStandard: 0.20-0.35 mm (0.008-0.014 in)
- Measure the clearance between 3rd drive gear and input shaft.
ClearanceStandard: 0.20-0.35 mm (0.008-0.014 in)