Document ID# 1201227
1998 Saturn SL2/SC2/SW2
 

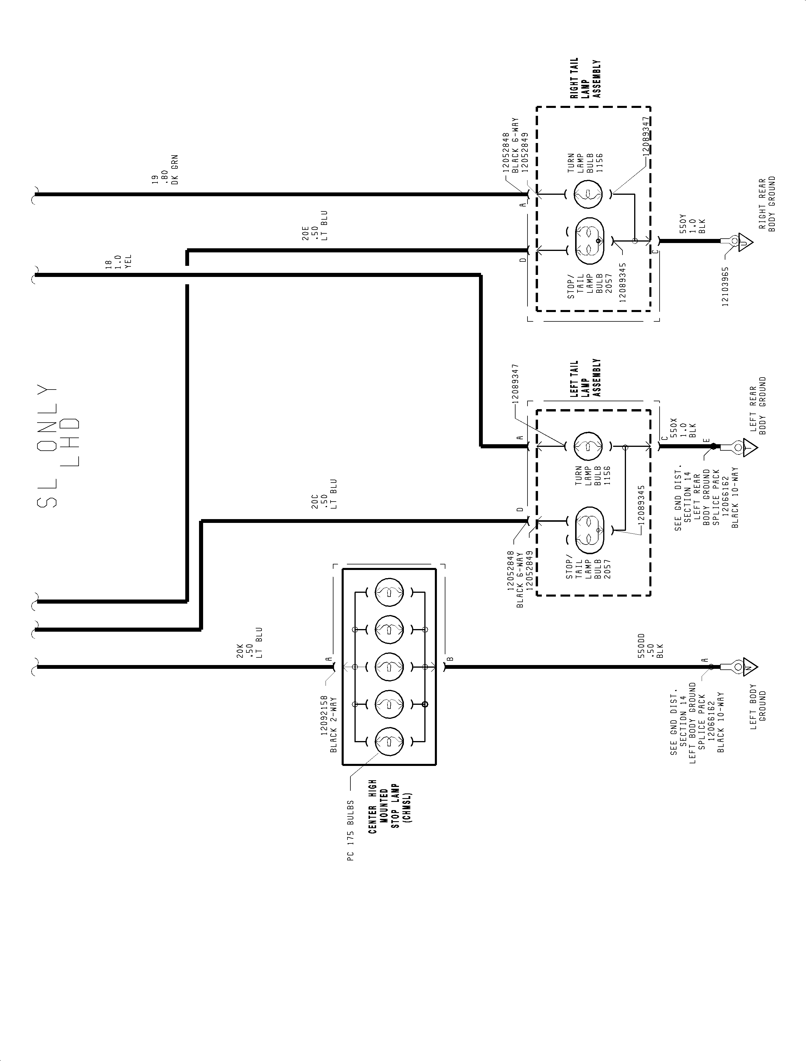
FIGURE Sedan Only (1998)(c)


Object Number: 908018  Size: FP
Click here for detailed picture of above image.

  Document ID# 1201227
1998 Saturn SL2/SC2/SW2