Document ID# 1230015
1998 Saturn SL2/SC2/SW2
 

Lighting Systems Connector End Views

Table 1: Ash Tray Lamp
Table 2: Backup Lamp - Coupe - Right
Table 3: Backup Lamp - Coupe - Left
Table 4: Backup Switch
Table 5: Cargo Lamp Switch - Wagon
Table 6: Cargo Lamp - Sedan, Coupe
Table 7: Cargo Lamp Switch - Sedan, Coupe
Table 8: Cargo Lamp Switch - Sedan, Coupe
Table 9: Cargo Lamp - Wagon
Table 10: Center High-Mount Stop Lamp - CHMSL - Coupe
Table 11: Center High-Mount Stop Lamp - CHMSL -Sedan, Wagon
Table 12: Cigar Lighter
Table 13: Cigar Lighter Ring Illum
Table 14: Dome Lamp
Table 15: Fog Lamp - Right
Table 16: Fog Lamp - Left
Table 17: Headlamp High Beam - Right
Table 18: Headlamp High Beam - Left
Table 19: Headlamp Low Beams - Right
Table 20: Headlamp Lo Beams - Left
Table 21: Headlamp Switch
Table 22: I/P Dimmer
Table 23: License Lamps - Coupe - Right
Table 24: License Lamps - Coupe - Left
Table 25: License Lamps - Sedan - Right
Table 26: License Lamps - Sedan - Left
Table 27: License Lamps - Wagon - Right
Table 28: License Lamps - Wagon - Left
Table 29: MAP Lights
Table 30: Marker Lamp - Left
Table 31: Marker Lamp - Right
Table 32: Park/Turn Lamp - Coupe - Left
Table 33: Park/Turn Lamp - Coupe - Right
Table 34: Park/Turn Lamps - Sedan/Wagon - Right
Table 35: Park/Turn Lamps - Sedan/Wagon - Left
Table 36: POD Switches - Fog Lamp/Traction/Rear Defog Switch
Table 37: PRNDL Lamp
Table 38: Stop/Tail/Back-up/Turn/Marker Lamp Inline - Right
Table 39: Stop/Tail/Back-up/Turn/Marker Lamp Inline - Left
Table 40: Turn/Hazard Switch

Ash Tray Lamp


Object Number: 914864  Size: CH
Click here for detailed picture of above image.

Connector Part Information

  • 12160250
  • Black

Cavity

Wire Color

Circuit Number

Wire Size

Circuit Function

A

DK GRN

44A

0.35

ILLUMINATION CONTROL

B

BRN

9AC

0.35

ILLUMINATION

Location Console

Backup Lamp - Coupe - Right


Object Number: 924478  Size: CH
Click here for detailed picture of above image.

Connector Part Information

  • 12160386
  • Gray

Cavity

Wire Color

Circuit Number

Wire Size

Circuit Function

A

LT GRN

24J

0.80

POWER

B

BLK

550AE

0.80

GROUND

Location: Rear of Decklid

Backup Lamp - Coupe - Left


Object Number: 924478  Size: CH
Click here for detailed picture of above image.

Connector Part Information

  • 12160386
  • Gray

Cavity

Wire Color

Circuit Number

Wire Size

Circuit Function

A

LT GRN

24K

0.80

POWER

B

BLK

550AW

0.80

GROUND

Location: Rear of Decklid

Backup Switch


Object Number: 924518  Size: CH
Click here for detailed picture of above image.

Connector Part Information

  • 12103584
  • Brown

Cavity

Wire Color

Circuit Number

Wire Size

Circuit Function

A

LT GRN

24B

0.50

TO LAMPS

B

PNK

239

0.50

FROM FUSE-IGN

Location: Engine Compartment - Top of Manual Transaxle

Cargo Lamp Switch - Wagon


Object Number: 884256  Size: CH
Click here for detailed picture of above image.

Connector Part Information

  • 12052832
  • Black

Cavity

Wire Color

Circuit Number

Wire Size

Circuit Function

A

DK GRN

146B

0.35

AJAR TELLTALE/CARGO LAMP CONTROL

B

BLK

550AX

0.35

GROUND

Location: Liftgate Latch

Cargo Lamp - Sedan, Coupe


Object Number: 884256  Size: CH
Click here for detailed picture of above image.

Connector Part Information

  • 12052832
  • Black

Cavity

Wire Color

Circuit Number

Wire Size

Circuit Function

A

RED/BLK

744

744B

0.35

GROUND-SL

GROUND-SC

B

ORN

340B

340JJ

0.35

POWER-SL

POWER-SC

Location: Under Package Shelf

Cargo Lamp Switch - Sedan, Coupe


Object Number: 884274  Size: CH
Click here for detailed picture of above image.

Connector Part Information

  • 12047781
  • Black

Cavity

Wire Color

Circuit Number

Wire Size

Circuit Function

A

BLK

550RA

550RL

0.35

DECKLID RELEASE MOTOR GROUND-SL W/RKE

DECKLID RELEASE MOTOR GROUND-SC W/RKE

B

GRY

382B

382C

0.35

DECKLID RELEASE MOTOR-SL W/RKE

DECKLID RELEASE MOTOR-SC W/RKE

C

RED/BLK

744A

744C

0.35

CARGO LAMP SW-SL

CARGO LAMPSW-SC

Location: Decklid Latch

Cargo Lamp Switch - Sedan, Coupe


Object Number: 885048  Size: CH
Click here for detailed picture of above image.

Connector Part Information

  • 12092582
  • Black

Cavity

Wire Color

Circuit Number

Wire Size

Circuit Function

A

BLK

550DD-SL

550DY-SC

0.35

0.8

GROUND-SL

GROUND-SC

Location: On Decklid Latch

Cargo Lamp - Wagon


Object Number: 884274  Size: CH
Click here for detailed picture of above image.

Connector Part Information

  • 12047781
  • Black

Cavity

Wire Color

Circuit Number

Wire Size

Circuit Function

A

WHT

156A

0.35

CARGO LP SWITCH

B

BLK

550A

0.35

CARGO LP GROUND

C

ORN

340A

0.35

CARGO LP BULB

Location: Rear Roof

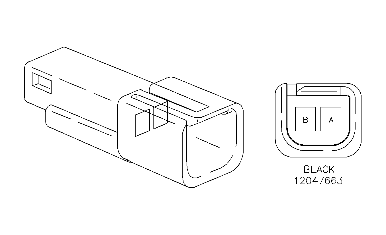
Center High-Mount Stop Lamp - CHMSL - Coupe


Object Number: 884291  Size: CH
Click here for detailed picture of above image.

Connector Part Information

  • 12047663
  • Black

Cavity

Wire Color

Circuit Number

Wire Size

Circuit Function

A

LT BLU

20

0.8

CHMSL-HIGH

B

BLK

550B

0.8

CHMSL-GROUND

Location: Roof Rear Center

Center High-Mount Stop Lamp - CHMSL -Sedan, Wagon


Object Number: 915189  Size: CH
Click here for detailed picture of above image.

Connector Part Information

  • 12092158
  • Gray

Cavity

Wire Color

Circuit Number

Wire Size

Circuit Function

A

LT BLU

20J

20K

0.5

CHMSL-HIGH-WAGON

CHMSL-HIGH-SEDAN

B

BLK

550EA

550DD

0.5

CHMSL-GROUND-WAGON

CHMSL-GROUND-SEDAN

Location: Liftgate-Wagon -- Headliner-Sedan

Cigar Lighter


Object Number: 915204  Size: CH
Click here for detailed picture of above image.

Connector Part Information

  • 12047699
  • Gray

Cavity

Wire Color

Circuit Number

Wire Size

Circuit Function

A

ORN

740B

0.8

BATT +

B

BLK

350H

0.8

GROUND

Location: I/P Center

Cigar Lighter Ring Illum


Object Number: 915318  Size: CH
Click here for detailed picture of above image.

Connector Part Information

  • 12110566
  • Black

Cavity

Wire Color

Circuit Number

Wire Size

Circuit Function

A

DK GRN

44K

0.35

TO IPJB

B

BRN

9AK

0.35

ILLUM

Location: I/P Center

Dome Lamp


Object Number: 884274  Size: CH
Click here for detailed picture of above image.

Connector Part Information

  • 12047781
  • Black

Cavity

Wire Color

Circuit Number

Wire Size

Circuit Function

A

WHT

156

0.8-SC

0.35-SL/SW

DOME SWITCH

B

BLK

550-SL/SW

550A-SC

0.35-SL/SW

0.8-SC

DOME GROUND

C

ORN

340

0.35-SL/SW

0.8-SC

B+ TO DOME BULB

Location: Center Roof -- Headliner

Fog Lamp - Right


Object Number: 884576  Size: CH
Click here for detailed picture of above image.

Connector Part Information

  • 12020599
  • Black

Cavity

Wire Color

Circuit Number

Wire Size

Circuit Function

A

PPL

34

0.5

SWITCHED B+

B

BLK

150S-SL/SW

150SS-SC

0.35

GROUND

Location: Front Fascia-Lower Right

Fog Lamp - Left


Object Number: 884576  Size: CH
Click here for detailed picture of above image.

Connector Part Information

  • 12020599
  • Black

Cavity

Wire Color

Circuit Number

Wire Size

Circuit Function

A

PPL

34A

0.50

SWITCHED B+

B

BLK

150R

0.35

GROUND

Location:Front Fascia-Lower Left

Headlamp High Beam - Right


Object Number: 898095  Size: CH
Click here for detailed picture of above image.

Connector Part Information

  • 12059183
  • Black

Cavity

Wire Color

Circuit Number

Wire Size

Circuit Function

A

ORN

140A

0.5

B+

B

PNK

1200A

0.5

HI BEAM CONTROL

Location: Headlamps-Right

Headlamp High Beam - Left


Object Number: 898095  Size: CH
Click here for detailed picture of above image.

Connector Part Information

  • 12059183
  • Black

Cavity

Wire Color

Circuit Number

Wire Size

Circuit Function

A

ORN

40A

0.35

B+

B

PNK

1200B

0.35

HI BEAM CONTROL

Location: Headlamps-Left

Headlamp Low Beams - Right


Object Number: 918711  Size: CH
Click here for detailed picture of above image.

Connector Part Information

  • 12059181
  • Gray

Cavity

Wire Color

Circuit Number

Wire Size

Circuit Function

A

ORN

140B

0.5

B+

B

DK BLU

1201A

0.5

LO BEAM CONTROL

Location: Headlamps-Right

Headlamp Lo Beams - Left


Object Number: 918711  Size: CH
Click here for detailed picture of above image.

Connector Part Information

  • 12059181
  • Gray

Cavity

Wire Color

Circuit Number

Wire Size

Circuit Function

A

ORN

40B

0.35

B+

B

DK BLU

1201B

0.35

LO BEAM CONTROL

Location: Headlamps-Left

Headlamp Switch


Object Number: 884279  Size: CH
Click here for detailed picture of above image.

Connector Part Information

  • 12064769
  • Natural

Cavity

Wire Color

Circuit Number

Wire Size

Circuit Function

A

DK BLU

1201C

0.35

LO BEAM

B

--

--

--

Not Used

C

BLK

350G

1

SWITCH GROUND

D

--

--

--

Not Used

E

PNK

1200E

0.35

HI BEAM

F

ORN

240

0.35

PARK FUSE B+

G

PNK

1200C

0.5

HI BEAM

H-J

--

--

--

Not Used

K

BRN

9K

0.35

PARK LAMPS

Location: Steering Column

I/P Dimmer


Object Number: 917385  Size: CH
Click here for detailed picture of above image.

Connector Part Information

  • 12064758
  • Black

Cavity

Wire Color

Circuit Number

Wire Size

Circuit Function

A

BLK

350C

0.35

BATT

B

DK GRN

44

0.35

TO ILLUM BULBS

C

BRN

9AL

0.35

TO ILLUM BULBS

Location: I/P Left Upper

License Lamps - Coupe - Right


Object Number: 924980  Size: CH
Click here for detailed picture of above image.

Connector Part Information

  • 12065157
  • Cream

Cavity

Wire Color

Circuit Number

Wire Size

Circuit Function

A

BRN

9

0.35

POWER

B

BLK

550

0.35

GROUND

Location: Decklid-Right

License Lamps - Coupe - Left


Object Number: 924980  Size: CH
Click here for detailed picture of above image.

Connector Part Information

  • 12065157
  • Cream

Cavity

Wire Color

Circuit Number

Wire Size

Circuit Function

A

BRN

9

0.35

POWER

B

BLK

550

0.35

GROUND

Location: Decklid-Left

License Lamps - Sedan - Right


Object Number: 898096  Size: CH
Click here for detailed picture of above image.

Connector Part Information

  • 12110053
  • LT Gray

Cavity

Wire Color

Circuit Number

Wire Size

Circuit Function

A

BRN

9X

0.5

POWER

B

BLK

550AC

0.5

GROUND

Location: Decklid-Right Rear

License Lamps - Sedan - Left


Object Number: 898096  Size: CH
Click here for detailed picture of above image.

Connector Part Information

  • 12110053
  • LT Gray

Cavity

Wire Color

Circuit Number

Wire Size

Circuit Function

A

BRN

9W

0.5

POWER

B

BLK

550AB

0.5

GROUND

Location: Decklid-Left Rear

License Lamps - Wagon - Right


Object Number: 919088  Size: CH
Click here for detailed picture of above image.

Connector Part Information

  • 12162083
  • Black

Cavity

Wire Color

Circuit Number

Wire Size

Circuit Function

A

BRN

9V

0.5

POWER

B

BLK

550EF

0.5

GROUND

Location: Liftgate

License Lamps - Wagon - Left


Object Number: 919088  Size: CH
Click here for detailed picture of above image.

Connector Part Information

  • 12162083
  • Black

Cavity

Wire Color

Circuit Number

Wire Size

Circuit Function

A

BRN

9V

0.5

POWER

B

BLK

550EF

0.5

GROUND

Location: Liftgate

MAP Lights


Object Number: 884274  Size: CH
Click here for detailed picture of above image.

Connector Part Information

  • 12047781
  • Black

Cavity

Wire Color

Circuit Number

Wire Size

Circuit Function

A

ORN

340G

0.35

MAP LIGHT POWER

B

--

--

--

Not Used

C

BLK

550FF

0.35

GROUND

Location: Roof-Headliner

Marker Lamp - Left


Object Number: 898096  Size: CH
Click here for detailed picture of above image.

Connector Part Information

  • 12110053
  • Gray

Cavity

Wire Color

Circuit Number

Wire Size

Circuit Function

A

BRN

9A-SL, SW, SC2

9AA-SC1

0.5

PARK FEED

B

BLK

150G-SL, SW, SC2

150GG-SC1

0.5

GROUND

Location: Left Front

Marker Lamp - Right


Object Number: 898096  Size: CH
Click here for detailed picture of above image.

Connector Part Information

  • 12110053
  • Gray

Cavity

Wire Color

Circuit Number

Wire Size

Circuit Function

A

BRN

9B

0.5

PARK FEED

B

BLK

150B

0.5

GROUND

Location: Right Front

Park/Turn Lamp - Coupe - Left


Object Number: 925159  Size: CH
Click here for detailed picture of above image.

Connector Part Information

  • 12160395
  • Gray

Pin

Wire Color

Circuit Number

Function

A

LT BLU

14

LT TURN-HI

B

BRN

9C

LT PARK-HI

C

BLK

150FF

LT GROUND

Location: Left Front Fascia

Park/Turn Lamp - Coupe - Right


Object Number: 925159  Size: CH
Click here for detailed picture of above image.

Connector Part Information

  • 12160395
  • Gray

Cavity

Wire Color

Circuit Number

Wire Size

Circuit Function

A

DK BLU

15

0.5

RT TURN-HI

B

BRN

9E

0.5

RT PARK-HI

C

BLK

150C

0.5

GROUND

Location: Right Front Fascia

Park/Turn Lamps - Sedan/Wagon - Right


Object Number: 922848  Size: CH
Click here for detailed picture of above image.

Connector Part Information

  • 12092377
  • Gray

Cavity

Wire Color

Circuit Number

Wire Size

Circuit Function

A

DK BLU

15

0.5

RIGHT TURN

B

BRN

9E

0.5

PARK

C

BLK

150C

0.5

GROUND

Location: Right Front Fascia

Park/Turn Lamps - Sedan/Wagon - Left


Object Number: 922848  Size: CH
Click here for detailed picture of above image.

Connector Part Information

  • 12092377
  • Gray

Cavity

Wire Color

Circuit Number

Wire Size

Circuit Function

A

LT BLU

14

0.5

LEFT TURN

B

BRN

9C

0.5

PARK

C

BLK

150FF

0.5

GROUND

Location: Left Front Fascia

POD Switches - Fog Lamp/Traction/Rear Defog Switch


Object Number: 922904  Size: CH
Click here for detailed picture of above image.

Connector Part Information

  • 121295622
  • Black

Cavity

Wire Color

Circuit Number

Wire Size

Circuit Function

A

YEL

317

0.35

FOG LAMP RELAY CONTROL

B

PNK

1200

0.35

HI BEAM INPUT

C

PPL/WHT

1572

0.35

TRACTION CONT ENABLE

D

LT BLU

292

0.35

REAR DEFOG SW ON/OFF

E-G

--

--

--

Not Used

H

BLK

350J

0.35

POD SWITCHES GROUND

J

WHT

193

0.35

REAR DEFOG RELAY/ON LED CONTROL

K

BRN

641E

0.35

TRACTION CONT/REAR DEFOG ING3 FEED

L

DK GRN

44L

0.35

POD SWITCHES ILLUMINATION

M

BRN

9AN

0.35

POD SWITCHES ILLUMINATION

Location: I/P Center

PRNDL Lamp


Object Number: 919088  Size: CH
Click here for detailed picture of above image.

Connector Part Information

  • 12162083
  • Natural

Cavity

Wire Color

Circuit Number

Wire Size

Circuit Function

A

BRN

9AF

0.35

Power

B

DK GRN

44F

0.35

ILLUMINATION CONTROL

Location: Console

Stop/Tail/Back-up/Turn/Marker Lamp Inline - Right


Object Number: 923581  Size: CH
Click here for detailed picture of above image.

Connector Part Information

  • 12052848
  • Black

Cavity

Wire Color

Circuit Number

Wire Size

Circuit Function

A

DK GRN

19

0.8

TURN LAMPS

B

BRN

9G-SL, SC

9Z-SW

0.35

TAIL LAMPS

C

BLK

550Y-SL

550AJ-SW

550PP-SC

1

GROUND

D

LT BLU

20E-SL, SC

20L-SW

0.5

STOP LAMPS

E

--

--

--

Not Used

F

LT GRN

*24E-SL

24H-SW

0.35

BACK-UP LAMP

Location: Rear Compartment-Right

* 1st Design

Stop/Tail/Back-up/Turn/Marker Lamp Inline - Left


Object Number: 923581  Size: CH
Click here for detailed picture of above image.

Connector Part Information

  • 12052848
  • Black

Cavity

Wire Color

Circuit Number

Wire Size

Circuit Function

A

YEL

18

1

TURN LAMP

B

BRN

9F-SL, SC

9Y-SW

0.35

TAIL LAMPS

C

BLK

550X-SL

550AR-SW

550NN-SC

1

GROUND

D

LT BLU

20C-SL, SC

20N-SW

0.5

STOP LAMPS

E

--

--

--

Not Used

F

LT GRN

*24F-SL

24L-SW

0.35

BACK-UP LAMP

Location: Rear Compartment-Left

* 1st Design

Turn/Hazard Switch


Object Number: 919112  Size: CH
Click here for detailed picture of above image.

Connector Part Information

  • 12064766
  • Blue

Cavity

Wire Color

Circuit Number

Wire Size

Circuit Function

A

YEL

18A

1

LF TURN SIGNAL

B

--

--

--

Not Used

C

DK GRN

19A

1

RT TURN SIGNAL

D

PPL

16

1

TURN SIGNAL LAMP

E

LT BLU

1508B

0.8

HAZARD SW

F

PNK

139

1

IGN 1

G

ORN

1040B

1

IGN 3

H

--

--

--

Not Used

Location: Steering Column


  Document ID# 1230015
1998 Saturn SL2/SC2/SW2