DTC P1620
Circuit Description

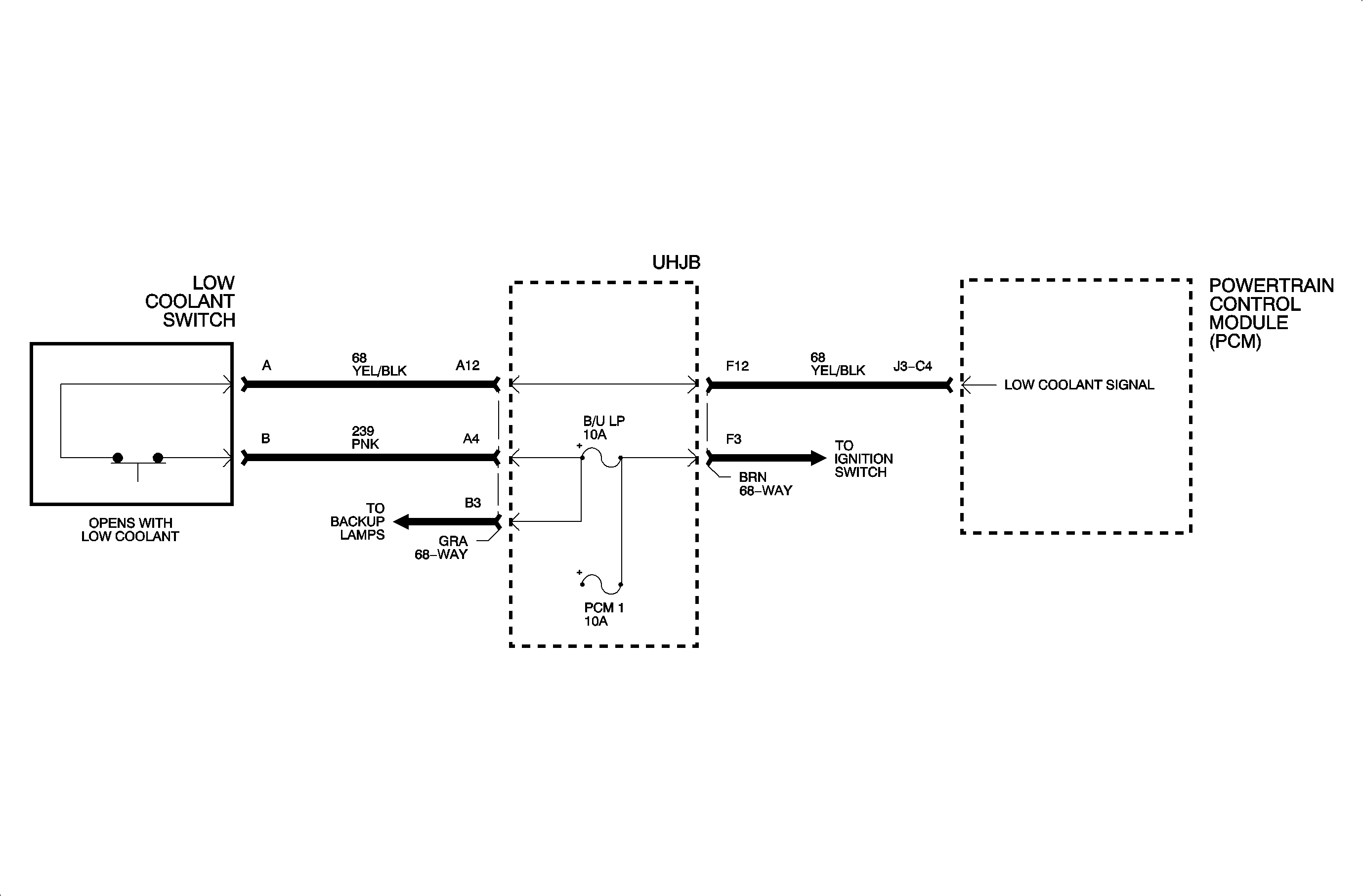
The PCM monitors the 12 volt signal from the low coolant switch. When
the switch opens, indicating a low coolant condition, the PCM will not detect the
12 volt signal.
Conditions for Setting the DTC
Important
The low coolant circuit is continuously checked
when the engine is running.
DTC P1620 will set if the coolant switch opens, low signal, for 20 seconds
with the engine running.
Diagnostic Aids
- DTC P1620 will set during cooling fan run-on. In high coolant temperature
conditions, the cooling fan stays on up to 4 minutes after the ignition is
turned OFF. To verify this condition, observe IGN volts in the DTC P1620 failure
record. If IGN volts is less than 2 volts, the DTC was caused by cooling fan
run-on. DTC P1620 should be cleared and the vehicle returned to the customer.
- The low coolant switch is located in the coolant recovery tank and is
a normally closed switch when the coolant bottle is at the proper level.
- Pressure check the system for leaks. Refer to the Engine Cooling section
of the Engine/Fuel/Air Intake/Exhaust Service Manual.
- The switch is normally closed when the coolant bottle is full.
- The low coolant/hot light will flash when the coolant switch is open.
