
- Clean all parts. Coat the 3 oil gallery plugs
with Saturn P/N 21485277, LOCTITE 242® Threadlocker or equivalent,
and install them using a standard driver, if removed.
Notice
Do not depress the spring cap too far as it will cause valve stem seal and valve
stem damage.
Important
After each valve is installed, oil the valve
guide with clean engine oil and stem before installing the valve stem seal. If a valve
stem seal is removed, it must be discarded.
- Install new valve stem seals using the
SA9102E-A
.
Do not oil the seal's inner diameter where it contacts the guide.
- Oil the valve stems and install the valves, springs, caps, and retainers.

- Fill the hydraulic lash adjusters with clean engine
oil using an oil squirt can, lubricate the lash adjuster body, and install them in
their proper locations.
Notice
The dowel pin in each camshaft must be located at the 12 o'clock
position during installation to prevent valve and piston damage.
- Assemble the rocker arms over the lash adjusters
and valve stems.

- Oil the camshafts, lobes, and journals, and install
each in the cylinder head with the dowel pin at the 12 o'clock position.
-
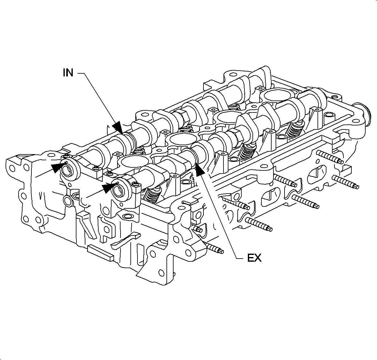
Important
Camshafts are identified IN, at the intake
and manifold side of the engine, and EX, at the exhaust side of the engine. If camshafts
are installed at the wrong location, the following will occur.
The oil baffles in the cam cover will interfere with the camshaft and the cam
cover will not assemble properly. Noise will be evident upon engine operation.
- DTC P0172, system rich, is likely to set.
- Poor engine performance at throttle tip-in will be evident.
-

Notice
Fully tightening down one bearing cap at a time will break the camshaft and
damage the cylinder head cam bearings surfaces or damage the cap bolt threads.
The forward bearing caps are used to control thrust:
the camshafts must be positioned fully forward prior to their installation.
- Install all the bearing caps on each camshaft with arrows pointed toward
the camshaft sprockets. The camshaft bearing caps are numbered and have an I for the
intake side and an E for the exhaust manifold side stamped on them. Tighten the caps
down uniformly.
Tighten
Tighten the caps to 14 N·m (124 lb in).

Important
Make sure all gasket surfaces are clean when
installing manifolds and cylinder head assembly.
- Install the intake manifold using a new intake manifold gasket. Tighten the
nuts in the following sequence: 7, 5, 4, 2, 1, 3, 6.
TightenTighten the nuts to 30 N·m (22 lbs ft).
- Install the exhaust manifold using a new exhaust manifold gasket. Tighten
the nuts in the following sequence: 9, 6, 5, 2, 1, 3, 4, 7, 8.
TightenTighten the nuts to 17 N·m (150 lbs in).