If a Motor circuit is grounded, ABS will be disabled and the antilock telltale lamp will be turned On.

Code 65 sets if:
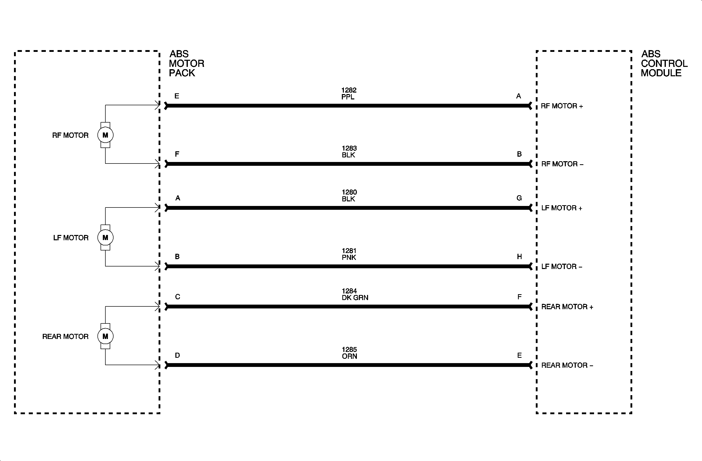
Rear motor circuit is grounded.
Code 86 could also set and the brake telltale lamp will illuminate if the rear ABS motor is not in home position.
This code can set at all times except when a previous failure has disabled ABS operation.
When attempting to diagnose an intermittent problem, use the Scan tool to review supplemental diagnostic information. The supplemental data can be used to duplicate a problem.
Select Malf History from scan tool ABS menu.
Check the tightness of the female terminal grip with a spare male terminal.
Motor resistance is less than 2 ohms.
Motor runs in both directions.
