
The brake switch is normally closed supplying 12 volts to the powertrain control module (PCM) at terminal J1C14 when the ignition is ON and the brake is OFF.
DTC P0573 will set if voltage at circuit 86B is always 12 volts when the vehicle has cycled 2 times from 0-55 km/h (0-34 mph).
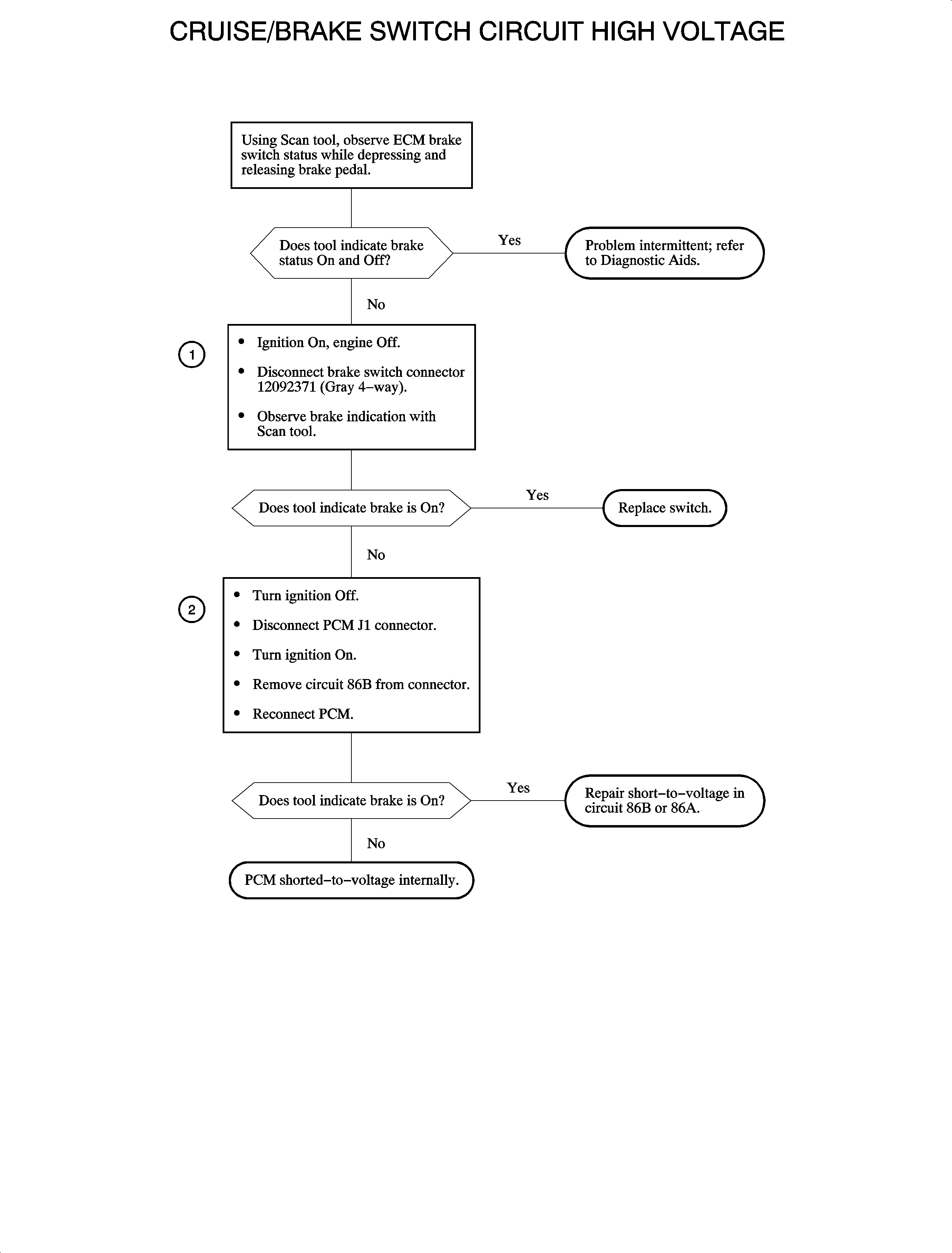
Numbered steps below refer to steps on the trouble chart.
This code could set by a customer who comes to a complete stop without using the foot brake.
A blown 5 amp cruise fuse will cause a DTC P0573 to set.
