| Table 1: | Parts Requirements: |
1996-1999 Saturn S-Series Wagons built before and including the following VIN breakpoints:
Model | Interior Trim | VIN |
SW1 | Warm Gray Cloth | XZ208999 |
SW1 | Biscuit Cloth | XZ208630 |
SW2 | Warm Gray Cloth | XZ208797 |
SW2 | Biscuit Cloth | XZ210728 |
SW2 | Warm Gray Leather | XZ210766 |
SW2 | Biscuit Leather | XZ209781 |
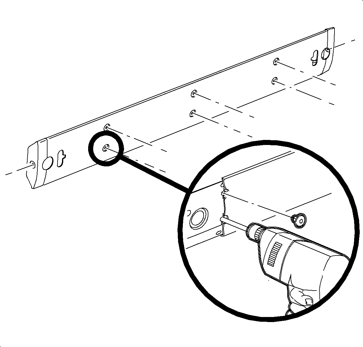
New wagon rear seat back beam trim covers and pushpin fasteners have been released to service wagons built before and including the above VIN breakpoints. The new service parts back service all 1996-1999 wagons. When servicing the wagon rear seat back beam, pushpin holes in the seat back beam will need to be enlarged to accommodate the new, larger pushpin fasteners. If the trim cover and end caps are reused, they will also require enlarged holes to accommodate the larger pushpin fasteners.

Rear seat back attachments have an "easyload" outer bracket that allows the
rear seat back to snap into position upon installation. It is necessary to gently
pry this "easyload" bracket outward to remove the rear seat back. it important not
to use excessive force to pry on the bracket or bracket may become damaged. Move bracket
only enough to lift seat back from vehicle. If bracket has been moved outward too
much, gently riposting bracket to ensure proper retention of the rear seat back to
the bracket. Notice



Tighten the seat back beam nuts to 18 N·m (13 lb ft).

21035343 Retainer - R/Seat BK Cush Cvr ( 96-97 Lt Bisc) | ||||
21035358 Retainer - R/Seat BK Cush Cvr ( 98-01 Md Bisc II) | ||||
21047990 Retainer - R/Seat BK Cush Cvr ( 96-01 Md Wm. Gray) |
To receive credit for this repair during the warranty coverage period, submit a claim though the Saturn Dealer system for C7290 (Beam Assembly Components, Rear Seat Back Cross - R&R or Replace).
|
GM bulletins are intended for use by professional technicians,
NOT a "do-it-yourselfer". They are written to inform these
technicians of conditions that may occur on some vehicles, or to
provide information that could assist in the proper service of a
vehicle. Properly trained technicians have the equipment,
tools, safety instructions, and know-how to do a job properly and
safely. If a condition is described, DO NOT assume that the
bulletin applies to your vehicle, or that your vehicle will have
that condition. See your GM dealer for information on whether
your vehicle may benefit from the information. |
|
WE SUPPORT VOLUNTARY TECHNICIAN CERTIFICATION |
© Copyright General Motors Corporation. All Rights Reserved.