1996-2002 Saturn S-Series Sedans (Rear Belt) 1997-2002 Saturn S-Series Coupes (Front and Rear Belts) 1999-2002 Saturn S-Series Sedans and Wagons (Front Belts) 1999-2002 Saturn S-Series Wagons (Rear Belts)
Some customers may comment that the seat belt latch falls to the floor or is difficult to retrieve when putting on the seat belt.
This condition may be due to a missing seat belt stow button.
Refer to the procedures in this bulletin to install the seat belt stow button kit replacement parts.
Front Seat Belt Stow Button Replacement

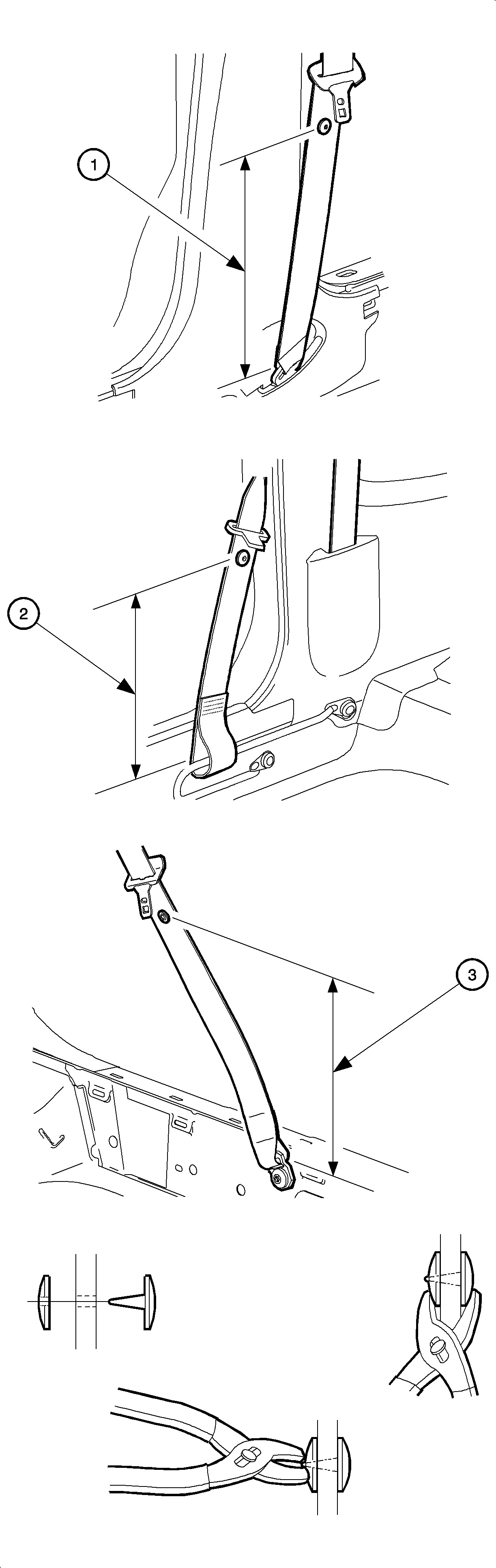
If the original seat belt stow button hole is visible, reuse this hole for the
replacement button and proceed to step 3.Important
Make sure the smooth side of the seat belt stow button is on the side of the
webbing that faces the vehicle interior when the belt is stowed and not twisted.Important
Do not cover the center point of the button with the pliers while pinching the
halves together.Important

If the original seat belt stow button hole is visible, reuse this hole for the
replacement button and proceed to step 3.Important
Make sure the seat belt is in the stowed position with the webbing completely
retracted before performing the measurement in step 1.Important
Make sure the smooth side of the seat belt stow button is on the side of the
belt that contacts the occupant when the belt is properly worn.Important
Do not cover the center point of the button with pliers while pinching the halves
together.Important
Part Number | Color | Description |
|---|---|---|
21054151 | MD BISC | Button Kit-RR/Seat Belt Stow (1996 Models) |
21306071 | EBONY | Button Kit-FRT and RR/Seat Belt Stow (1997 to 2002 Models) |
21306072 | MD WM. GRAY | Button Kit-FRTand RR/Seat Belt Stow (1996 to 2002 Models) |
21306073 | MD BISC II | Button Kit-FRT and RR/Seat Belt Stow (1997 to 2002 Models) |
Claim Information: To receive credit for this repair during the warranty coverage period, submit a claim through the Saturn Dealer System for C9098 (Button, Seat Belt Stow -- Replace).
|
GM bulletins are intended for use by professional technicians,
NOT a "do-it-yourselfer". They are written to inform these
technicians of conditions that may occur on some vehicles, or to
provide information that could assist in the proper service of a
vehicle. Properly trained technicians have the equipment,
tools, safety instructions, and know-how to do a job properly and
safely. If a condition is described, DO NOT assume that the
bulletin applies to your vehicle, or that your vehicle will have
that condition. See your GM dealer for information on whether
your vehicle may benefit from the information. |
|
WE SUPPORT VOLUNTARY TECHNICIAN CERTIFICATION |
© Copyright General Motors Corporation. All Rights Reserved.